T HRO HB

Ввертный штуцер, T-образный

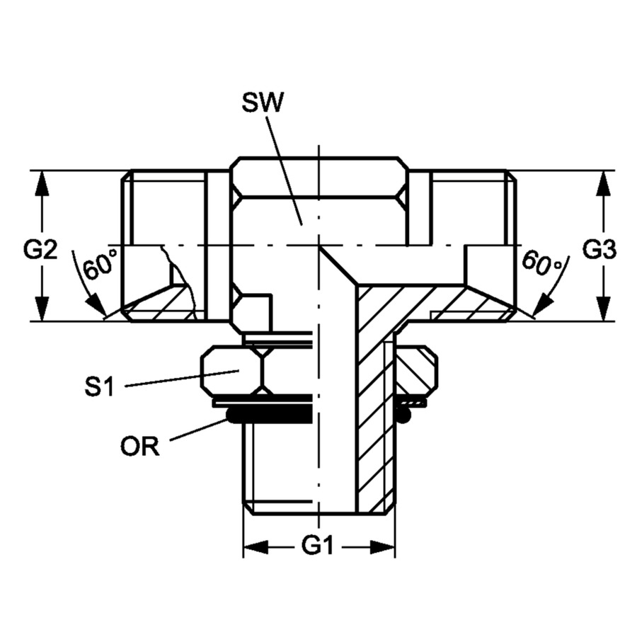
  • Конструкция T-образная форма 
  • Модель Ввертный штуцер с регулировкой положения 
  • Форма уплотнения 1 Форма G 
  • Соединение 1 Наружная резьба BSP, цилиндрическая 
  • Материал Сталь 

Свойства T HRO HB

  • Конструкция: T-образная форма 
  • Модель: Ввертный штуцер с регулировкой положения 
  • Форма уплотнения 1: Форма G 
  • Соединение 1: Наружная резьба BSP, цилиндрическая 
  • Материал: Сталь 
  • Защита поверхности: Гальваническое покрытие 
  • Соединение 2 + 3: Наружная резьба BSP, цилиндрическая 
  • Форма уплотнения 2 + 3: Внутренний конус 60° 

Варианты продукта (19)

Название G1 G2 + G3 SW S1 Кольцо круглого сечения Действия
THRO02HB G 1/8″ -28 G 1/8″ -28 11 16 7,65 x 1,78
THRO04HB02 G 1/4″ -19 G 1/8″ -28 14 20 10,78 x 2,62
THRO04HB G 1/4″ -19 G 1/4″ -19 19 20 10,78 x 2,62
THRO04HB06 G 1/4″ -19 G 3/8″ -19 14 20 10,78 x 2,62
THRO06HB04 G 3/8″ -19 G 1/4″ -19 19 24 13,94 x 2,62
THRO06HB G 3/8″ -19 G 3/8″ -19 19 24 13,94 x 2,62
THRO06HB08 G 3/8″ -19 G 1/2″ -14 19 24 13,94 x 2,62
THRO08HB06 G 1/2″ -14 G 3/8″ -19 22 28 17,86 x 2,62
THRO08HB G 1/2″ -14 G 1/2″ -14 22 28 17,86 x 2,62
THRO08HB10 G 1/2″ -14 G 5/8″ -14 22 28 17,86 x 2,62
THRO08HB12 G 1/2″ -14 G 3/4″ -14 27 28 17,86 x 2,62
THRO12HB08 G 3/4″ -14 G 1/2″ -14 27 35 23,47 x 2,62
THRO12HB G 3/4″ -14 G 3/4″ -14 27 35 23,47 x 2,62
THRO12HB16 G 3/4″ -14 G 1″ -11 33 35 23,47 x 2,62
THRO16HB12 G 1″ -11 G 3/4″ -14 33 43 29,74 x 3,53
THRO16HB G 1″ -11 G 1″ -11 33 43 29,74 x 3,53
THRO20HB16 G 1.1/4″ -11 G 1″ -11 41 52 37,69 x 3,53
THRO20HB G 1.1/4″ -11 G 1.1/4″ -11 41 52 37,69 x 3,53
THRO24HB G 1.1/2″ -11 G 1.1/2″ -11 50 58 44,04 x 3,53

SW, S1, S2, S3 = размер под ключ

Схема продукта


Вверх