K-WTEH 2-TLG MET SICH WAND V G

Service units, 2-piece with metal bowl, sight glass and joiner for wall mounting, fully-automatic drain valve

  • Входное давление Max. 10 bar 
  • Температура среды Max. 70 °C 
  • Температура окружающей среды Max. 70 °C 
  • Уплотнение Нитрильный каучук 
  • Размер пор в фильтрующем элементе 5 µm 

Свойства K-WTEH 2-TLG MET SICH WAND V G

  • Входное давление: Max. 10 bar 
  • Температура среды: Max. 70 °C 
  • Температура окружающей среды: Max. 70 °C 
  • Уплотнение: Нитрильный каучук 
  • Размер пор в фильтрующем элементе: 5 µm 
  • Капельная насадка: Brass/POM 
  • Капельная насадка: Brass/POM 
  • Корпус: Die-cast aluminium 
  • Пружинная крышка: POM 
  • Drain valve: Semi- or fully-automatic 
  • Измерение расхода воздуха: At P1 = 8 bar, P2 = 6 bar and pressure drop Δp = 1 bar 
  • Дополнительная информация: Bedienungsanleitung auf Anfrage 

Варианты продукта (2)

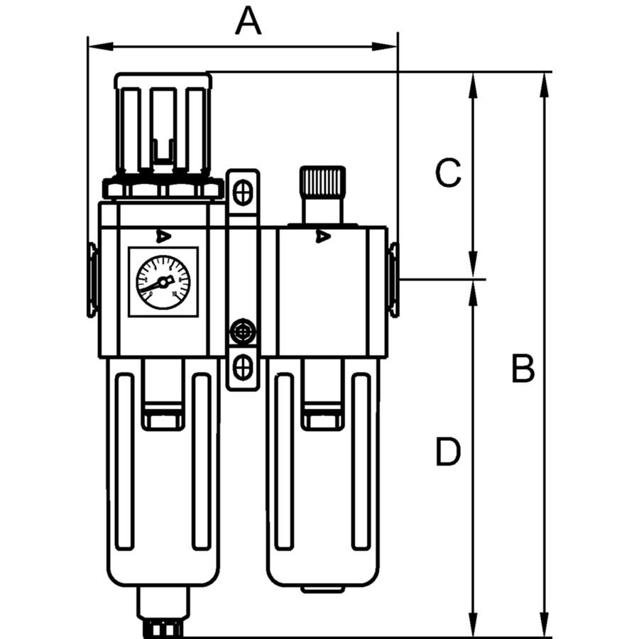
Название Резьба Расход nom. Типоразмер A C D B Действия
K-07251406 G 3/4 4200 600 190,0 144,0 219,0 363,0 mm
K-07251408 G 1 4200 600 190,0 144,0 219,0 363,0 mm

Схема продукта


Описание изделия K-WTEH 2-TLG MET SICH WAND V G

User manual on request

Вверх