K-DRG DRV 250 NIEDERDRUCK

DRV 250 pressure regulators, low-pressure type

  • Входное давление Max. 25 bar (Series 200 and 300 Series), Max. 40 bar (400 Series) 
  • Область температур Max. 75 °C 
  • Уплотнение Нитрильный каучук 
  • Корпус Red brass 2.1096.01 
  • Пружинная крышка Pressed brass up to DN 25, Grey cast iron from DN 32 

Свойства K-DRG DRV 250 NIEDERDRUCK

  • Входное давление: Max. 25 bar (Series 200 and 300 Series), Max. 40 bar (400 Series) 
  • Область температур: Max. 75 °C 
  • Уплотнение: Нитрильный каучук 
  • Корпус: Red brass 2.1096.01 
  • Пружинная крышка: Pressed brass up to DN 25, Grey cast iron from DN 32 
  • Дополнительная информация: Reduktionsverhältnis max. 10:1 bei Serie 200, max. 20:1 bei Serie 300, max. 6:1 bei Serie 400 
    Weitere Ausführungen auf Anfrage 

Варианты продукта (3)

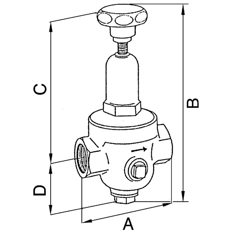
Название Резьба Расход значения kvs A C D B Действия
K-07250494 G 1/4 0,5 70,0 140,0 45,5 185,5 mm
K-07250495 G 3/8 0,6 70,0 140,0 45,5 185,5 mm
K-07250496 G 1/2 1,2 85,0 186,0 46,5 232,5 mm

Схема продукта


Описание изделия K-DRG DRV 250 NIEDERDRUCK

Прочие данные только по запросу.

Diaphragm pressure regulators with non-self-relieving design and non-pressure-reduced single-seated valve. Very precise adjustment. Good response characteristic because of only a few moving parts which hence minimal friction. Ideal for compressed air, nitrogen and other neutral, non-flammable gases, but only suitable for liquids with comparatively low flow rates.

Другие варианты исполнения по запросу

Другие варианты исполнения по запросуOther designs available on request

Вверх